Controle de 800 W com triac CIR17363S CB20710E (CIR19917)
Detalhes
Escrito por: Newton C. Braga
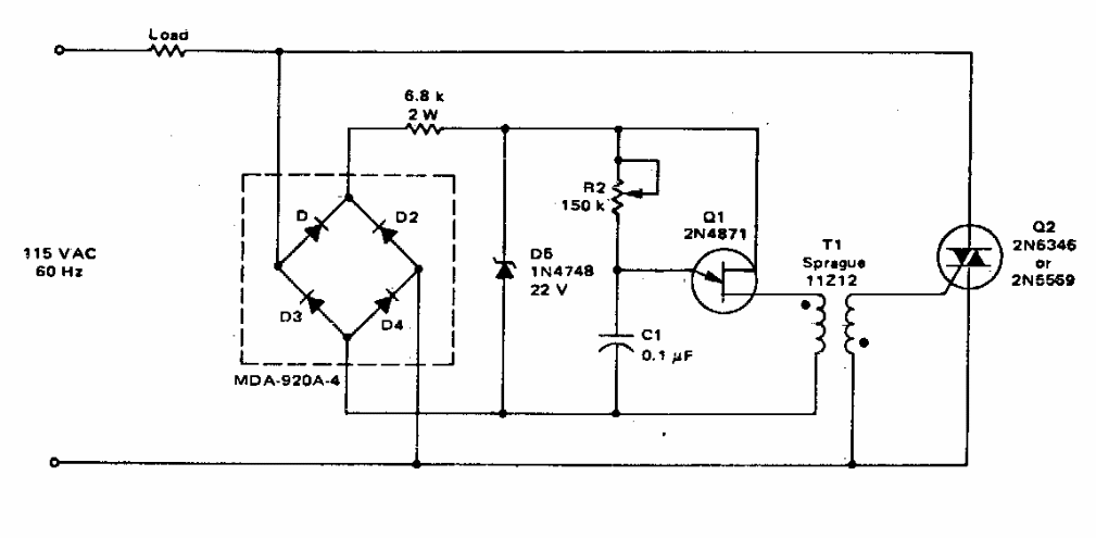
Encontrado em documentação dos anos 70, estre circuito para cargas resistivas usa um transformador de disparo. Os componentes admitem equivalentes modernos.