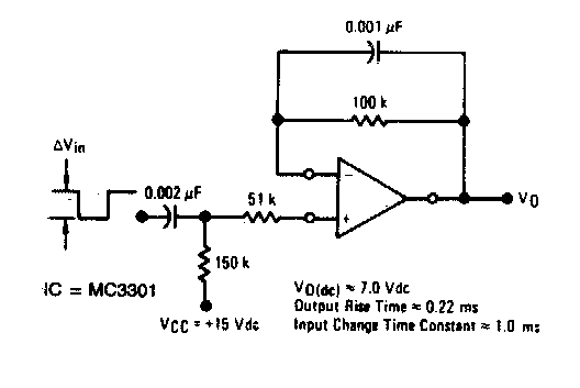
Este diferenciador para fronte negativa do sinal de entrada pode ser elaborado com base em qualquer amplificador operacional. As características dependem dos componentes utilizados.

Este diferenciador para fronte negativa do sinal de entrada pode ser elaborado com base em qualquer amplificador operacional. As características dependem dos componentes utilizados.
