Transmissor para 2 metros CIR16465S CB9381E (CIR19437)
Detalhes
Escrito por: Newton C. Braga
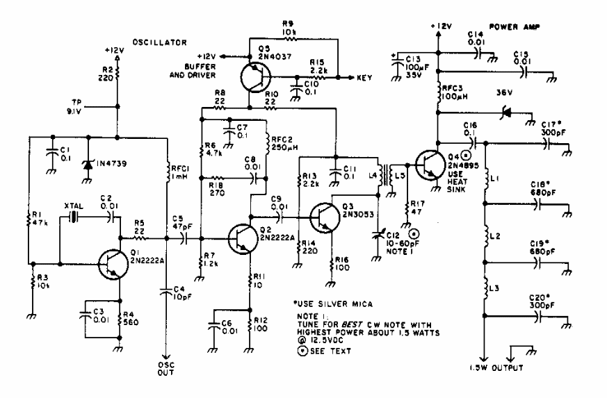
Este transmissor para a faixa de 2 metros com uma potência de 1,5 W foi encontrado numa revista 73 para radioamadores. Não foram fornecidas informações sobre as bobinas.