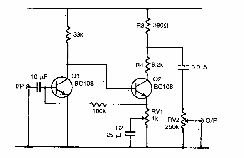
Os transistores deste circuito podem ser os BC548. Encontramos numa documentação dos anos 80. A alimentação pode ser feita com bateria de 9 V. Cabos entrada e saída devem ser blindados.
Os transistores deste circuito podem ser os BC548. Encontramos numa documentação dos anos 80. A alimentação pode ser feita com bateria de 9 V. Cabos entrada e saída devem ser blindados.