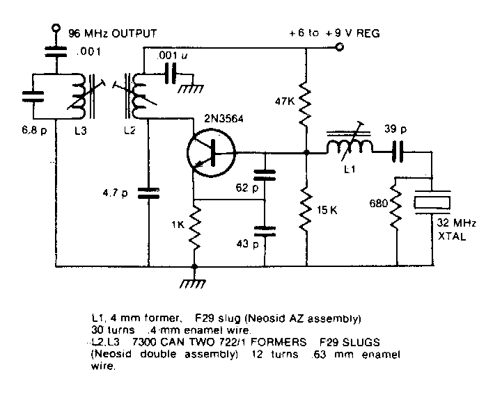
Encontrado numa documentação americana antiga, este circuito pode usar cristais entre 27,5 e 33 MHz operando no terceiro harmônico. O transistor admite equivalente.