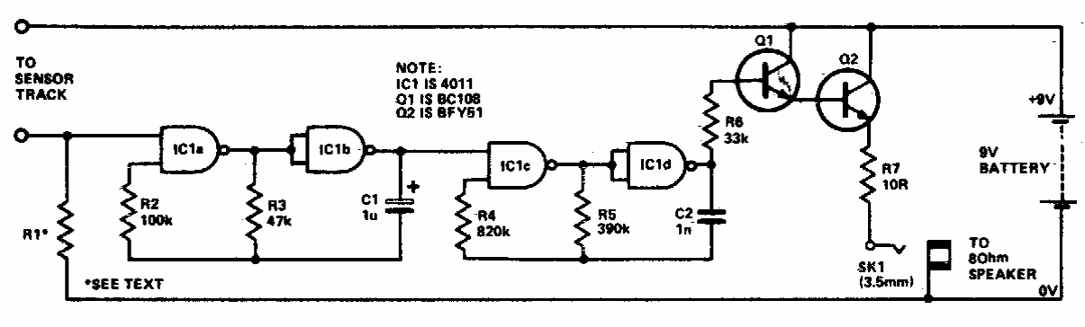
Este simples circuito detector de chuva, vazamento ou umidade aparece em outros pontos deste site com pequenas variações. Esta foi obtida numa documentação inglesa dos anos 70. A alimentação é feita por pilhas ou bateria.
Este simples circuito detector de chuva, vazamento ou umidade aparece em outros pontos deste site com pequenas variações. Esta foi obtida numa documentação inglesa dos anos 70. A alimentação é feita por pilhas ou bateria.