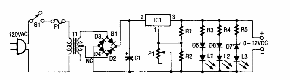
Encontrada numa PE Hobbyst Handbook de 1991, na verdade esta fonte pode fornecer 1,5 A com o LM317 e 3 A com o LM350. Os reguladores devem ser dotados de dissipadores de calor. O transformador de tem secundário de 15 a 25 V com a corrente máxima desejada na saída.
















