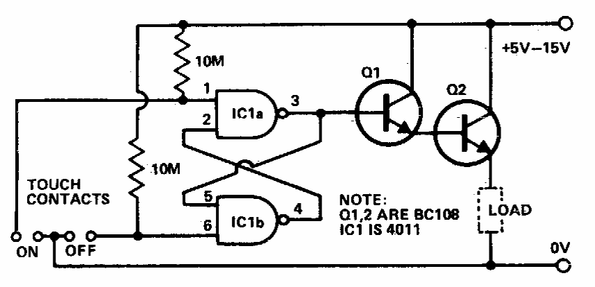
Esta sensível chave de toque aparece neste site vinda de outras fontes. Esta versão foi retirada de uma documentação americana dos anos 90. A fonte não deve ser do tipo sem transformador.
Esta sensível chave de toque aparece neste site vinda de outras fontes. Esta versão foi retirada de uma documentação americana dos anos 90. A fonte não deve ser do tipo sem transformador.