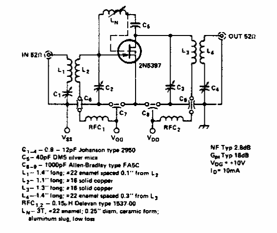
Este amplificador de fonte comum com transistor de efeito de campo MOS foi encontrado em documentação dos anos 70. Pode ser usado um transistor equivalente moderno.

Este amplificador de fonte comum com transistor de efeito de campo MOS foi encontrado em documentação dos anos 70. Pode ser usado um transistor equivalente moderno.
