Timer de 5 a 200 segundos CIR20749S CB21401E (CIR20845)
Detalhes
Escrito por: Newton C. Braga
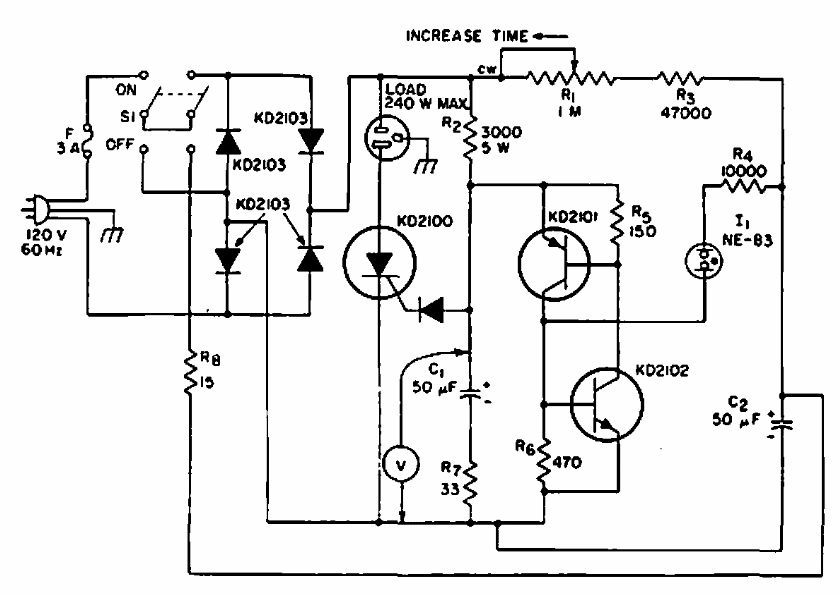
Este circuito foi encontrado numa documentação da RCA de 1967. Os componentes semicondutores são da época, podendo ser experimentados equivalentes modernos.