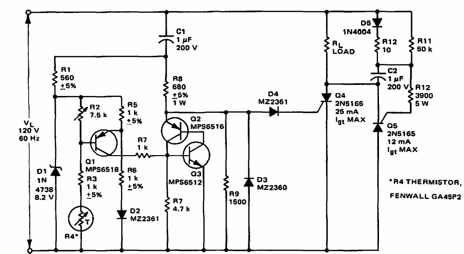
Este controle de potência foi encontrado num manual de circuitos de potência de 1968. Os SCRs são de acordo com a potência da carga controlada.

 


| Clique na imagem para ampliar |

 

 

 

NO YOUTUBE


NOSSO PODCAST