Circuito de partida por telefone CIR17684S CB10154E (CIR20192)
Detalhes
Escrito por: Newton C. Braga
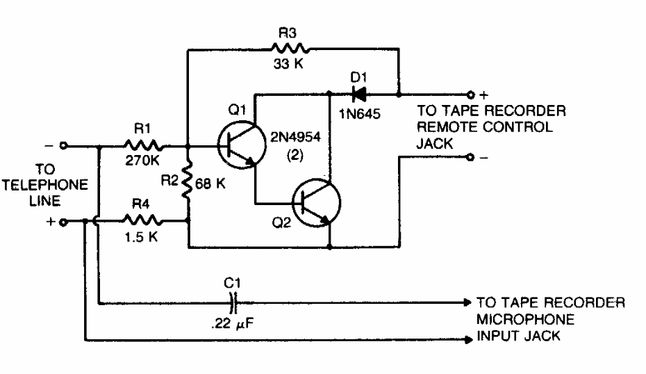
Este circuito aciona um gravador a partir do sinal obtido de uma linha telefônica no atendimento. Serve para a realização de gravações automáticas de chamadas.