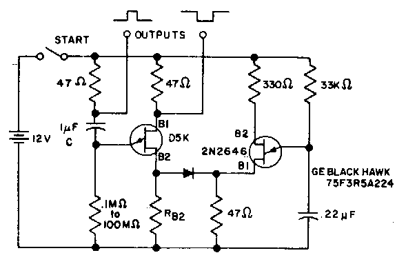
Este simples circuito produz pulsos retardados em tempos ajustados pelo resistor em série com C do lado da terra. O circuito é de uma documentação dos anos 70.

Este simples circuito produz pulsos retardados em tempos ajustados pelo resistor em série com C do lado da terra. O circuito é de uma documentação dos anos 70.
