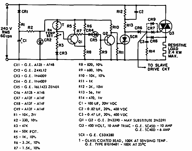
Este controle de temperatura semi-proporcional foi encontrado numa documentação americana antiga. Os componentes são da época e a potência máxima de 2,4 kW.

 


| Clique na imagem para ampliar |

 

 

 

NO YOUTUBE


NOSSO PODCAST