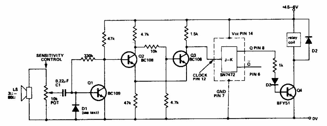
Encontrado numa documentação americana antiga, este circuito admite o uso de transistores equivalentes. O circuito aciona dois relés alternadamente a partir do sinal captado por um microfone.
Encontrado numa documentação americana antiga, este circuito admite o uso de transistores equivalentes. O circuito aciona dois relés alternadamente a partir do sinal captado por um microfone.