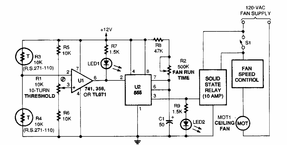
Encontrado numa Popular Electronics dos anos 90, este circuito faz uso de componentes comuns atualmente.

 


| Clique na imagem para ampliar |

 

 

 

NO YOUTUBE


NOSSO PODCAST