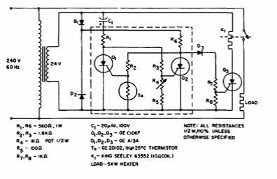
Encontrado num manual de SCRs da GE de 1967, este circuito tem por finalidade controlar cargas resistivas, como elementos de aquecimento, até 5 kW.

Encontrado num manual de SCRs da GE de 1967, este circuito tem por finalidade controlar cargas resistivas, como elementos de aquecimento, até 5 kW.
