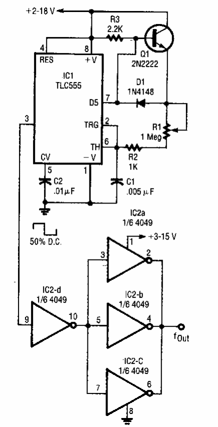
Encontrado numa Electronics Now dos anos 90, este circuito com o 555 gera um sinal com 50% de ciclo ativo. A frequência é ajustada em R1.

Encontrado numa Electronics Now dos anos 90, este circuito com o 555 gera um sinal com 50% de ciclo ativo. A frequência é ajustada em R1.
