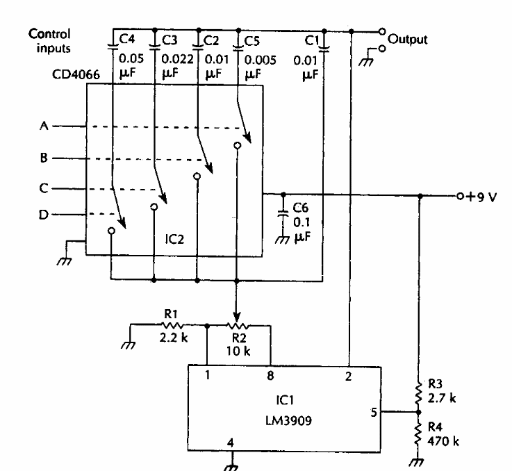
Encontrado em documentação americana dos anos 90, este circuito tem a frequência do sinal determinada pelos capacitores de C4, C3, C2 e C5 selecionados por chaves digitais.
Encontrado em documentação americana dos anos 90, este circuito tem a frequência do sinal determinada pelos capacitores de C4, C3, C2 e C5 selecionados por chaves digitais.