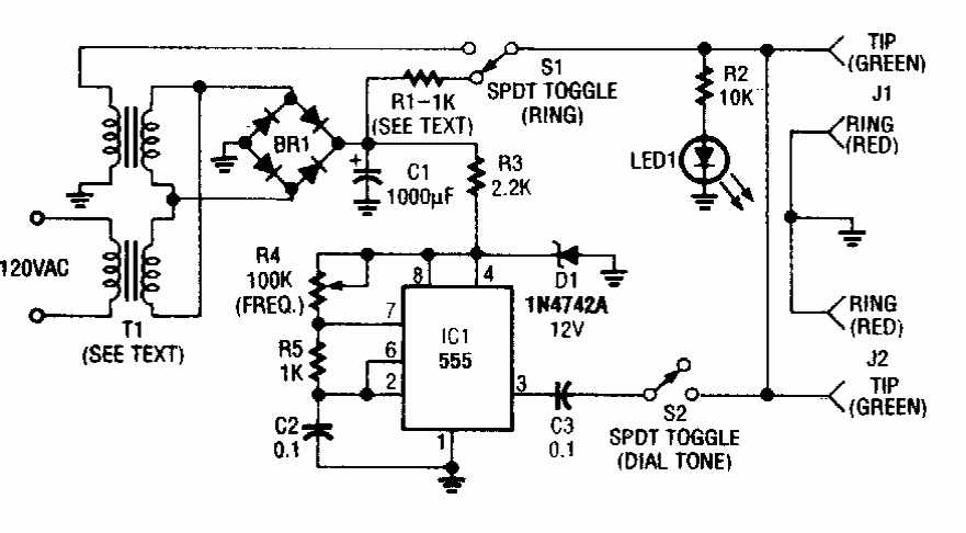
Encontrado numa Radio Electronics antiga, este circuito gera sinais que podem ser usados com telefones analógicos comuns.

 


| Clique na imagem para ampliar |

 

 

 

NO YOUTUBE


NOSSO PODCAST