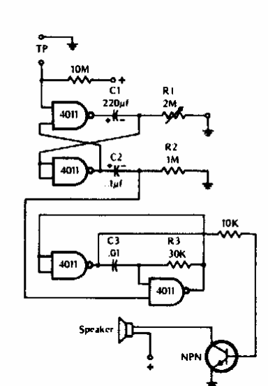
Este circuito pode ser encontrado em outros pontos desta seção. Esta versão foi obtida num esquemário dos anos 80. O transistor de saída admite equivalentes, conforme a potência do som desejada.

Este circuito pode ser encontrado em outros pontos desta seção. Esta versão foi obtida num esquemário dos anos 80. O transistor de saída admite equivalentes, conforme a potência do som desejada.
