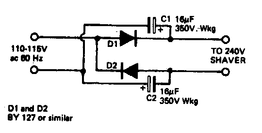
Este circuito permite que barbeadores de 220/240V sejam utilizados na rede de 110V. Os diodos podem ser retificadores de uso geral como os 1N4007. A corrente máxima de saída é da ordem de 1A.

Este circuito permite que barbeadores de 220/240V sejam utilizados na rede de 110V. Os diodos podem ser retificadores de uso geral como os 1N4007. A corrente máxima de saída é da ordem de 1A.
