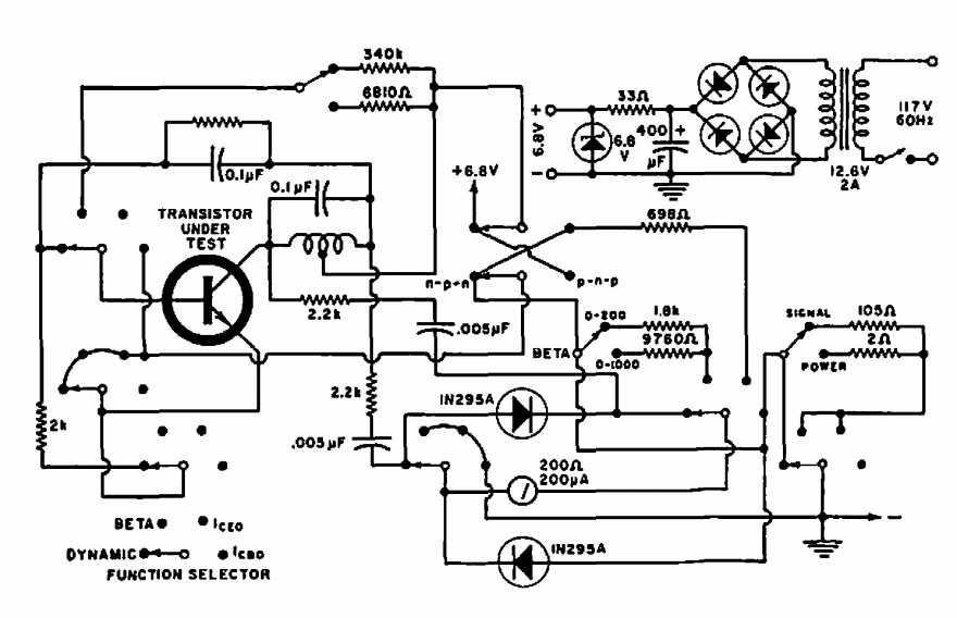
Encontramos este circuito numa Electronics World de 1967. Ele faz a análise de um transistor determinando o seu tipo.

 


| Clique na imagem para ampliar |

 

 

 

NO YOUTUBE


NOSSO PODCAST