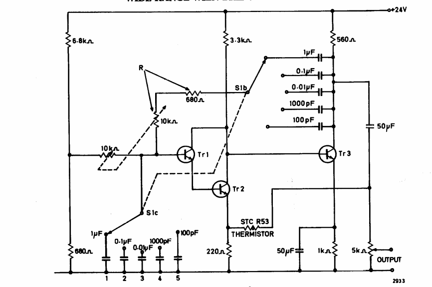
Este circuito de diversas faixas de oscilador por ponte de Viena foi encontrado num manual de transistores da Ferranti de 1974. O circuito gera sinais de 25 Hz a 1 MHz em 5 faixas selecionadas pelos capacitores.

 


| Clique na imagem para ampliar |

 

 

 

NO YOUTUBE


NOSSO PODCAST