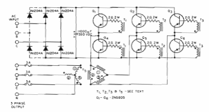
Este circuito foi encontrado no manual RCA de transistores de potência dos anos 70. O circuito utiliza transistores de potência da época.

Este circuito foi encontrado no manual RCA de transistores de potência dos anos 70. O circuito utiliza transistores de potência da época.
