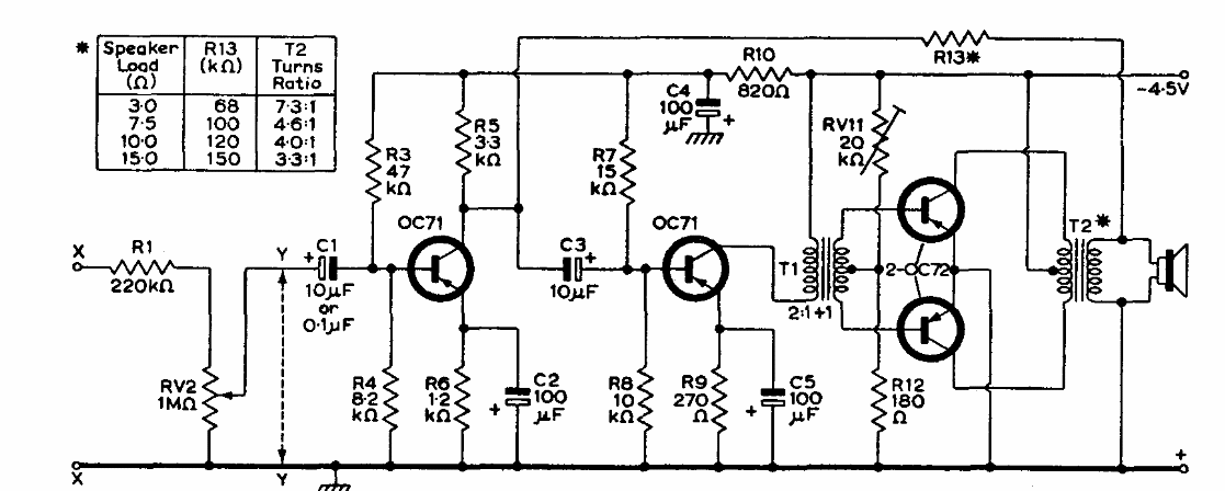
Este amplificador de 4 transistores pode funcionar com 4,5 ou 6 V. Encontramos num manual de transistores da Mullard de 1960. Os transistores são da época.

 

 


| Clique na imagem para ampliar |

 

 

 

NO YOUTUBE


NOSSO PODCAST