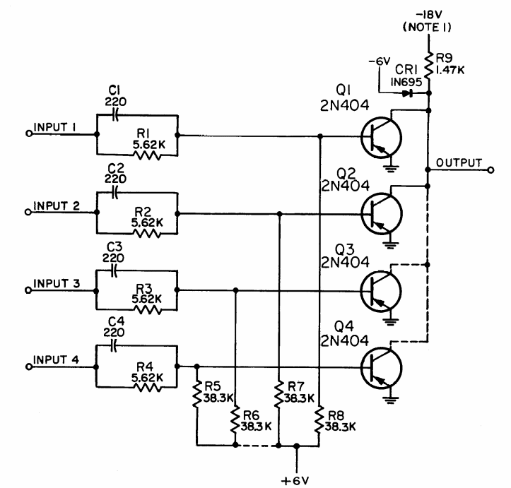
Encontrada numa documentação da marinha dos Estados Unidos de 1955, esta porta NOR de 4 entradas emprega transistores de uso geral da época. Podem ser usados equivalentes.

 


| Clique na imagem para ampliar |

 

 

 

NO YOUTUBE


NOSSO PODCAST