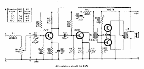
Este antigo amplificador utiliza transistores de germânio da época. O circuito é de um manual de transistores da Mullard de 1960. A alimentação é feita com 6 V.

Este antigo amplificador utiliza transistores de germânio da época. O circuito é de um manual de transistores da Mullard de 1960. A alimentação é feita com 6 V.
