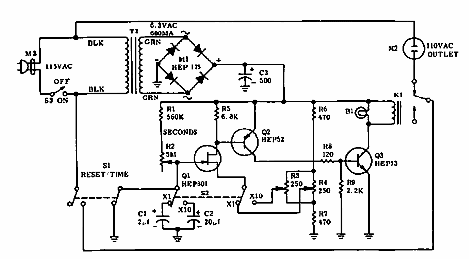
Este circuito é de um Manual de Transistores de Efeito de Campo da Motorola de 1966. O circuito faz uso de outros componentes da época. Podem ser testados equivalentes modernos.
Este circuito é de um Manual de Transistores de Efeito de Campo da Motorola de 1966. O circuito faz uso de outros componentes da época. Podem ser testados equivalentes modernos.