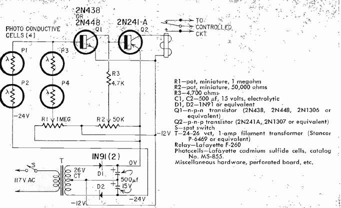
Este circuito teve sua montagem descrita numa Radio Electronics de julho de 1964. O circuito usa LDRs ajustados para ter uma referência e assim servir como um sensor de contraste. O circuito aciona um relé e é alimentado por uma fonte de 12 V.
Este circuito teve sua montagem descrita numa Radio Electronics de julho de 1964. O circuito usa LDRs ajustados para ter uma referência e assim servir como um sensor de contraste. O circuito aciona um relé e é alimentado por uma fonte de 12 V.