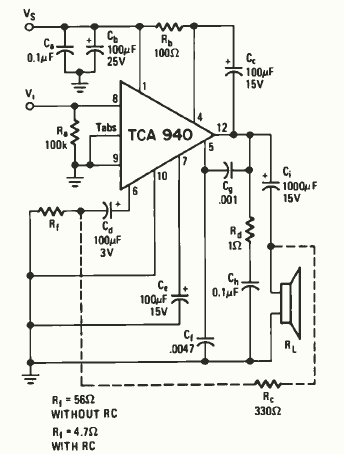
Este amplificador de alguns watts foi encontrado na revista Radio Electronics de agosto de 1975. O circuito era usado em muitos equipamentos comerciais da época. Cc determina o ganho.

Este amplificador de alguns watts foi encontrado na revista Radio Electronics de agosto de 1975. O circuito era usado em muitos equipamentos comerciais da época. Cc determina o ganho.
