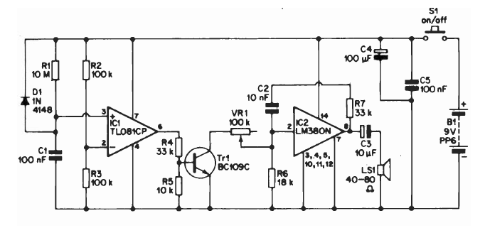
Este circuito com base no LM380 foi encontrado em documentação dos anos 80. Os componentes são atuais e o transistor pode ser um equivalente de uso geral. Observe o uso de alto-falante de média impedância.
Este circuito com base no LM380 foi encontrado em documentação dos anos 80. Os componentes são atuais e o transistor pode ser um equivalente de uso geral. Observe o uso de alto-falante de média impedância.