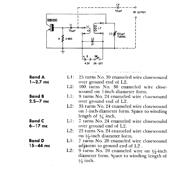
Este circuito admite diversos conjuntos de bobina podendo oscilar de 1 a 44 MHz. O transistor é de tipo especial antigo, pois o circuito foi encontrado em documentação dos anos 60.

Este circuito admite diversos conjuntos de bobina podendo oscilar de 1 a 44 MHz. O transistor é de tipo especial antigo, pois o circuito foi encontrado em documentação dos anos 60.
