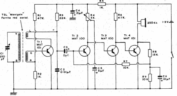
Este sensível receptor com escuta em fone foi encontrado numa documentação inglesa de 1963. Os transistores são de germânio. Não foram dadas informações sobre a bobina.

Este sensível receptor com escuta em fone foi encontrado numa documentação inglesa de 1963. Os transistores são de germânio. Não foram dadas informações sobre a bobina.
