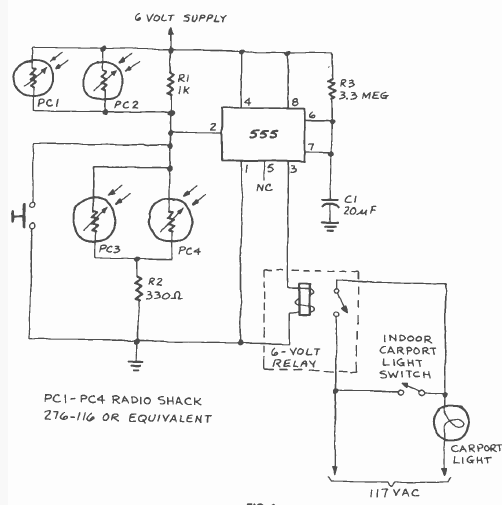
Indicado para aplicações automotivas, este circuito foi encontrado na revista Radio Electronics de novembro de 1980. Os sensores são LDRs comuns e a aplicação indicada é a iluminação de luzes de garagem.

Indicado para aplicações automotivas, este circuito foi encontrado na revista Radio Electronics de novembro de 1980. Os sensores são LDRs comuns e a aplicação indicada é a iluminação de luzes de garagem.
