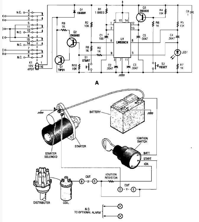
Este circuito desativa o sistema de ignição depois de um certo tempo quando você sai do veículo. Em caso de assalto o ladrão vê o veículo parar depois de certo tempo quando você sai e ele assume a direção. O circuito é de uma Popular Electronics dos anos 80.
















