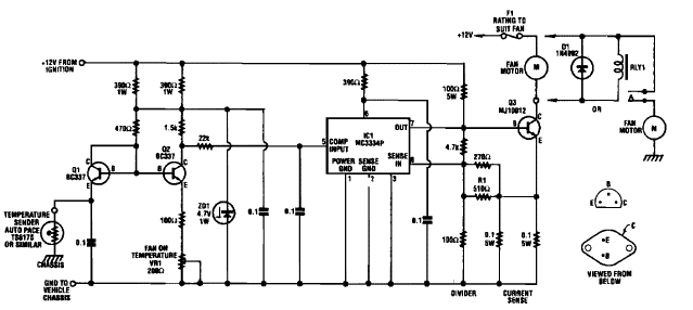
Este circuito para carros com ventoinhas foi encontrado numa documentação da Silicon Chips dos anos 90. Serve para acionar a ventoinha quando a temperatura da água do radiador sobe.

Este circuito para carros com ventoinhas foi encontrado numa documentação da Silicon Chips dos anos 90. Serve para acionar a ventoinha quando a temperatura da água do radiador sobe.
