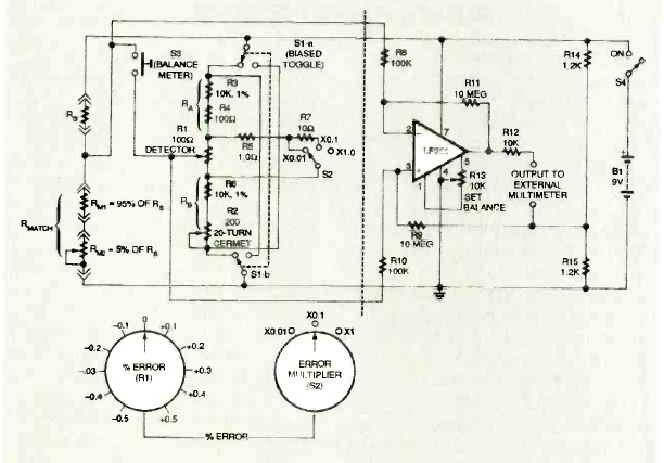
Encontramos este circuito na revista Electronics Now de novembro de 1995. O circuito é mais preciso que o anterior usando um multímetro externo como indicador.

Encontramos este circuito na revista Electronics Now de novembro de 1995. O circuito é mais preciso que o anterior usando um multímetro externo como indicador.
