Muitas experiências e brincadeiras interessantes você podará fazer com esta inofensiva “maquininha de dar choques". Com graduações que permitem obter descargas inofensivas que provocam desde um pouco de cócegas até um formigamento, o excitador de nervos funciona com pilhas comuns.
Obs. Este artigo foi publicado originalmente no nosso livro Brincadeiras e Experiências com Eletrônica de 1981, mas é atual pelos componentes usados, servindo não só para as finalidades indicadas no artigo, como também para pesquisa em biologia.
O que se pode fazer com um aparelho de dar choques? Esta sem dúvida é a primeira pergunta que os leitores interessados neste projeto podem fazer, não sendo difícil de acreditar que elas sejam acompanhadas de ideias condenáveis a respeito de nosso projeto.
Tomar um choque elétrico é algo bastante desagradável, senão perigoso, todos nós sabemos, mas isto se deve ao fato de que normalmente associamos esta experiência a apenas 'um tipo de descarga: a que ocorre com a rede de alimentação de 110 V ou 220 V quando encostamos num fio descascado, num interruptor ou tomada defeituosos. (figura 1).
Entretanto, os choques elétricos podem ter aplicações inofensivas e também interessantes, de modo que o leitor verá que existe uma justificativa para a realização de um “aparelho de dar choques".
É claro que é preciso ter muito cuidado: para ser inofensivo e interessante o aparelho deve ser devidamente projetado e manejado pois, brincar com eletricidade sem precauções pode ser algo muito perigoso.
Recreativamente, um aparelho de dar choques permite a realização de algumas brincadeiras e experiências curiosas que você pode fazer com seus amigos ou mesmo em salas de aula para ilustrar alguns fenômenos elétricos.
Com finalidade mais séria, um excitador de nervos pode servir para experiências de sensibilização e excitação em laboratórios de biologia e até mesmo para condicionamento funcionando como castigo em laboratórios de psicologia que trabalhem com animais.
As vantagens em se montar o nosso excitador de nervos são muitas de suas características:
A primeira refere-se ao fato dele ser inofensivo pela intensidade máxima da descarga que ele pode dar e por ser alimentado de modo isolado da rede local: funciona com pilhas.
A segunda deve-se justamente ao fato de ser alimentado por pilhas que permite sua utilização em qualquer parte.
O nosso excitador de nervos possui ainda um controle de graduação para a intensidade do choque que permite dosar a descarga conforme a experiência ou brincadeira que esteja sendo realizada.
Uma lâmpada indica o funcionamento do parelho comprovando assim a presença da descarga.
Finalmente, o nosso excitador de nervos é tão simples de montar que até mesmo estudantes de biologia, médicos ou pessoas que nenhuma experiência tenham em eletrônica poderão fazê-lo sem dificuldades.
Características:
- descarga ajustável entre 0 e 80 V
- alimentação: 6 V
- consumo de corrente: 20 à 60 mA
- tipos de descarga: 2
COMO FUNCIONA
As pilhas comuns não podem dar choques porque a tensão que fornecem é insuficiente para vencer a alta resistência de nossa pele e portanto forçar a circulação de uma corrente que excite de modo conveniente nossos nervos.
Com a ligação de muitas pilhas em conjunto e a aplicação da corrente em locais de menor resistência como, por exemplo, a língua ou um corte num dedo, a corrente já pode excitar e obter-se com isso um descarga capaz de provocar um choque (figura 2).
Para vencer a resistência da pele e causar a sensação de choque é preciso uma tensão da ordem de 40 ou 50 volts (isso depende muito da espessura da pele de cada um, a presença de umidade ou suor, etc.).
Por outro lado, se a corrente aplicada for do tipo alternante, ou seja, que varia de intensidade, o choque não será contínuo igualmente, mas apresentará características de formigamento.
Partindo então desde a tensão que causa apenas a leve sensação de formigamento, passando pelo quase adormecimento desagradável, chegamos ao ponto que a dor inicia, o que ocorre em torno de 80 ou 80 V dependendo muito das condições de cada um, conforme salientamos.
O que o nosso excitador de nervos faz é gerar a partir de 6 volts de 4 pilhas médias ou grandes, uma tensão variável de 0 à 80 V (ou mais) do tipo alternante que pode ser usada externamente.
Como as pilhas fornecem uma baixa tensão sob a forma contínua, e o que queremos é uma alta tensão alternada será preciso usar um circuito eletrônico para fazer a transformação.
Na figura 3 temos então o diagrama básico de nosso circuito inversor que nada mais é do que um oscilador de baixa frequência Hartley que funciona do seguinte modo:
Este circuito produz uma corrente alternada cuja frequência depende da indutância de L1, ou seja, do número de espiras e do tipo de núcleo usado; e do valor do capacitor C1 ligado em paralelo.
O resistor R1 que forma o circuito de realimentação responsável pela manutenção das oscilações também influi na frequência de oscilação servindo então de controle para a mesma.
No nosso projeto, em lugar de uma simples bobina para L1 usamos um transformador que então pode elevar a baixa tensão alternada que o circuito produz para valores bem mais altos como os que precisamos.
Na figura 4 temos o aspecto do transformador usado que permite obter até mais de 150 V em sua saída.
Na saída deste transformador temos uma lâmpada neon que indica o funcionamento do aparelho, observando-se que este tipo de lâmpada só acende com tensões acima de 80 V.
Isso significa que em funcionamento normal o aparelho estará gerando mais de 80 V sempre, mas existe um componente adicional, o potenciômetro P2 que dosa a saída do circuito.
Formando um divisor de tensão na saída do excitador, conforme mostra a figura 5 este potenciômetro controla a tensão de 0 à 80 V ou mais que queremos.
P1, o outro potenciômetro, serve para ajustar o ponto ideal de funciona mento do oscilador.
O transistor é o elemento ativo, mais importante portanto, do circuito tendo por função a ampliação da corrente de realimentação de modo a serem obtidas as oscilações.
MATERIAL
Tanto o material eletrônico como o não eletrônico pode ser obtido com certa facilidade e até mesmo improvisado.
O excitador pode ser montado numa caixa de madeira ou outro material de aproximadamente 15 x 10 x 8 cm com os controles colocados na sua parte externa e com encaixes para os eletrodos. Na figura 6 damos a nossa sugestão de caixa para a montagem.
Para a parte eletrônica é usado como "chassi" uma ponte de terminais na qual os componentes são soldados. Este tipo de ponte pode ser encontrado com facilidade nas lojas de material eletrônico.
Os componentes admitem diversas equivalências:
Para o transistor optamos pelo tipo TIP31, mas equivalentes como o BD435, TIP29 ou qualquer NPN de silício para corrente de mais de 1 A pode ser usado.
Será conveniente montar este transistor com uma pequena aleta de metal, parafusada em seu corpo, para ajudar na irradiação do calor gerado.
No caso de usar equivalentes deve ser verificada a disposição dos terminais de ligação que pode variar.
O transformador é do tipo com enrolamento primário para 220 V e 110 V sendo aproveitado apenas a disposição de 220 V, com secundário de 6 + 6 V por 250 mA ou 350 mA.
Para outras características de corrente e tensão de secundário o transformador pode ser usado, mas eventualmente serão necessárias alterações nos capacitores usados, para se obter o melhor rendimento do aparelho.
Os resistores são todos de 1/4 ou 1/8 W com 20% ou 10% de tolerância podendo ser aproveitados de velhos rádios ou TV abandonados assim como o transformador.
Os dois capacitores menores, de menos de 1 uF, podem ser de poliéster metalizado ou cerâmica com tensão de trabalho a partir de 50 V. Estes componentes podem também ser aproveitados de velhos rádios, amplificadores ou televisores.
Os dois capacitores eletrolíticos, devem ter uma tensão de trabalho de pelo menos 12 V e seus valores não são críticos. C1 pode variar de 47 uF à 220 uF e C2 pode variar de 100 uF à 500 uF.
Temos dois potenciômetros nesta montagem. Podem ser usados tipos lineares ou logarítmicos dos valores indicados e um deles pode ter incluído o interruptor geral do aparelho.
Se o potenciômetro que você conseguir for de eixo longo, corte-o no comprimento apropriado para receber o knob. Compre o knob junto com os potenciômetros escolhendo-os com a aparência que desejar.
A lâmpada neon é de uso geral com terminais paralelos, sem a resistência interna. Uma NE-2H serve perfeitamente para a nossa finalidade.
Completa a nossa relação de material os jaques para as pontas de prova ou eletrodos de aplicação que devem ser isolados, principalmente se a caixa que alojar o aparelho for metálica, e o interruptor que permite mudar o tipo de impulso aplicado.
Material de acabamento fica por conta de cada um. Coisas como parafusos para fechar a caixa, pés de borracha, letras autoadesivas para o painel entram nesta lista.
MONTAGEM
De posse da caixa com a furação preparada para receber os componentes, faca a sua fixação: potenciômetros, chave, lâmpada neon, suporte de pilhas e jaques de ligação dos eletrodos.
A seguir aqueça o soldador que não deve ter mais do que 30 W de potência e prepare os demais componentes.
Como ferramentas auxiliares use um alicate de corte lateral, um alicate de ponta e chaves de fenda.
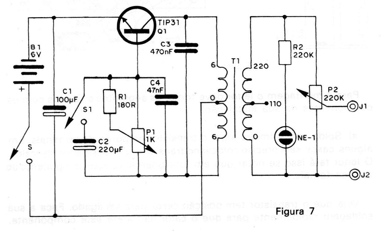
O diagrama completo do excitador de nervos, é mostrado na figura 7.
A disposição real com as ligações é mostrada na figura 8.
O leitor deve realizar a montagem observando os dois diagramas para não cometer erros.
Para a montagem o leitor deve tomar os seguintes cuidados com os componentes na sua instalação:
a) Solde em primeiro lugar o transistor na ponte de terminais. Em alguns casos será preciso colocar no transistor um dissipador de calor. O leitor fará isso se notar que em funcionamento este componente se aquece demais. Veja que o transistor tem posição certa para ser ligado. Faça a sua soldagem rapidamente para que o calor não afete este componente.
b) Solde o enrolamento de baixa tensão do transformador observando que este é o que corresponde aos fios esmaltados mais grossos. Os códigos de cores que identificam os enrolamentos do transformador são normalmente os seguintes:
primário: 0 V - preto
110 V - marrom
220 V - vermelho
secundário: tomada central - cor A
extremos: cor B
As cores A e B podem variar conforme o fabricante e conforme a tensão de secundário.
c) Solde os capacitores observando que no caso dos eletrolíticos estes têm polaridade certa para colocação. Veja nos seus invólucros a marcação de (+) e (-).
d) Solde a seguir os componentes que não vão na ponte. São eles os dois resistores. Estes não têm polaridade certa para colocação, mas não os aqueça excessivamente realizando a soldagem rapidamente.
Veja que um dos resistores será ligado entre o potenciômetro e a lâmpada neon. Neste caso, corte os terminais do resistor bem curtos soldando um deles ao potenciômetro. Deste modo o componente ficará preso e sustentado pelo próprio terminal não havendo perigo de escapar.
e) Agora você deve fixar a ponte de terminais e o transformador na caixa que aloja o aparelho. Use parafusos de tipo apropriado para esta finalidade. Em seguida faça as interligações entre todos os componentes e a ponte usando fio flexível de capa plástica (cabinho).
Estes fios não devem ser nem muito curtos nem muitos longos.
Veja que na soldagem dos fios do suporte de pilhas deve ser obedecida sua polaridade. O fio vermelho corresponde ao polo positivo. Em alguns casos é o polo negativo que é o identificado com um fio preto.
Terminada a montagem, antes de fechar a caixa, confira todas as ligações e prepare-se para uma prova de funcionamento.
PROVA E USO
Coloque as pilhas no suporte, observando sua polaridade. A seguir ligue o interruptor geral (conjugado a um dos potenciômetros).
Ajuste o outro potenciômetro até a lâmpada neon acender com o máximo de seu brilho. Se a chave estiver na posição “pulsante" que coloca o capacitor maior no circuito, a lâmpada deve piscar alternadamente no ponto ideal do ajuste.
O acendimento da lâmpada neon já é uma indicação de que o circuito se encontra oscilando convenientemente.
Ligue então dois fios aos bornes ou jaques dos eletrodos tendo estes suas pontas descascadas. Coloque o potenciômetro P2 de controle de intensidade na sua posição de mínima descarga (todo para a esquerda).
Segure os dois fios da maneira indicada na figurar 9 e gradativamente vá girando o potenciômetro de controle de intensidade da descarga.
De início você nada sentirá. Em determinado momento você conseguirá sentir um leve formigamento cuja intensidade irá aumentando à medida que o potenciômetro for levado para a direita.
É claro que você pode soltar os fios antes mesmo do potenciômetro ficar todo para a direita pois as estas alturas a descarga pode já se tornar desagradável.
Mas, se você tiver coragem e quiser experimentar...
Verifique também o funcionamento do excitador na segunda posição que produz impulsos procedendo do mesmo modo.
Para usar o aparelho você pode empregar diversos tipos de eletrodos de acordo com a finalidade pretendida. A intensidade da descarga também deve ser escolhida segundo cada caso.
Uma experiência interessante que você pode realizar e que citamos logo no início da descrição deste projeto é a da produção de uma descarga simultânea em diversas pessoas.
Para este finalidade chame seus amigos e mande todos ficarem de mãos dadas formando um círculo. O primeiro e o último devem segurar os eletrodos.
O aparelho deve ser ajustado para produzir a descarga pulsante e ser mantido desligado.
Quando você ligar o aparelho cuja saída deve ser regulada para uma boa intensidade a corrente circulará por todos os participantes do grupo que levarão a descarga demonstrando assim que a corrente passa por todos eliminando também o conceito que somente o primeiro e o último é que levam choque.
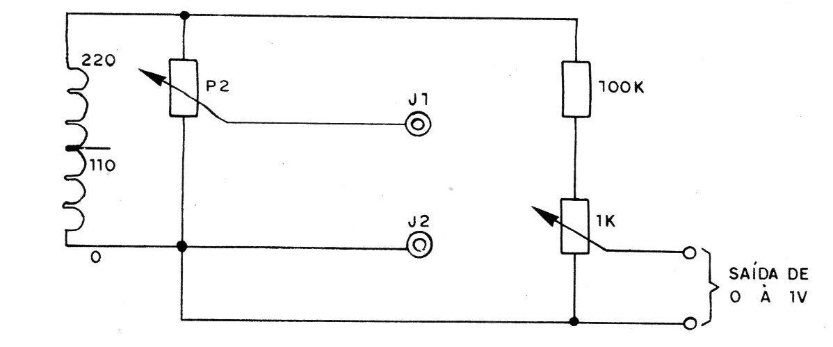
Para os que pretendem descargas de muito pequena intensidade para a excitação direta de nervos ou organismos pequenos, damos um divisor de tensão para ser ligado em sua saída, que em lugar da variação de aproximadamente 0 à 80 V na saída, faz uma regulagem de aproximadamente 0 à 1 V apenas.
A escala do potenciômetro usado pode então ser calibrada em termos de milivolts conforme mostra a figura 10.
LISTA DE MATERIAL
Q1 - transistor TIP 31 ou equivalente
C1 - 100 uF x 16 V - capacitor eletrolítico
C2 - 220 uF x 16 V - capacitor eletrolítico
CS - 470 nF ou O,47 uF - capacitor cerâmico ou de poliéster
C4 - 0,047 uF ou 47 nF - capacitor cerâmico ou de poliéster
R1 - 180 ohms x 1/8 W - resistor (marrom, cinza, marrom).
R2 - 220 k x 1/8 W - resistor (vermelho, vermelho, amarelo)
P1 - potenciômetro de 1 k
P2 - potenciômetro de 220 k (com chave)
NE-1 - lâmpada neon
T1 - transformador com primário para 220 V a secundário de 6 + 6 V com corrente de 250 mA
S1 - interruptor simples
Diversos: suporte de 4 pilhas médias ou grandes, caixa para a montagem, ponte de terminais, fios, solda, bornes para os eletrodos, knobs, etc.

























