Driver de motor AC com reversão CIR14463S CB7150E (CIR17422)
Detalhes
Escrito por: Newton C. Braga
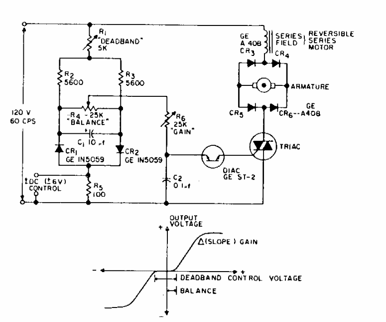
Sugerido pela General Electric, este circuito com triac consegue inverter a rotação de um motor através de sinal de controle DC. O circuito se aplica a servos AC.