Inversor de 500 W em Push Pull CIR14420S CB7117E (CIR17380)
Detalhes
Escrito por: Newton C. Braga
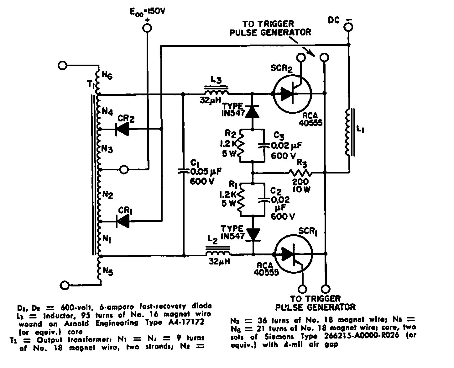
Sugerido por um manual da RCA antigo, este circuito faz uso de componentes da época. Dados para o transformador são fornecidos na documentação original dos anos 60.