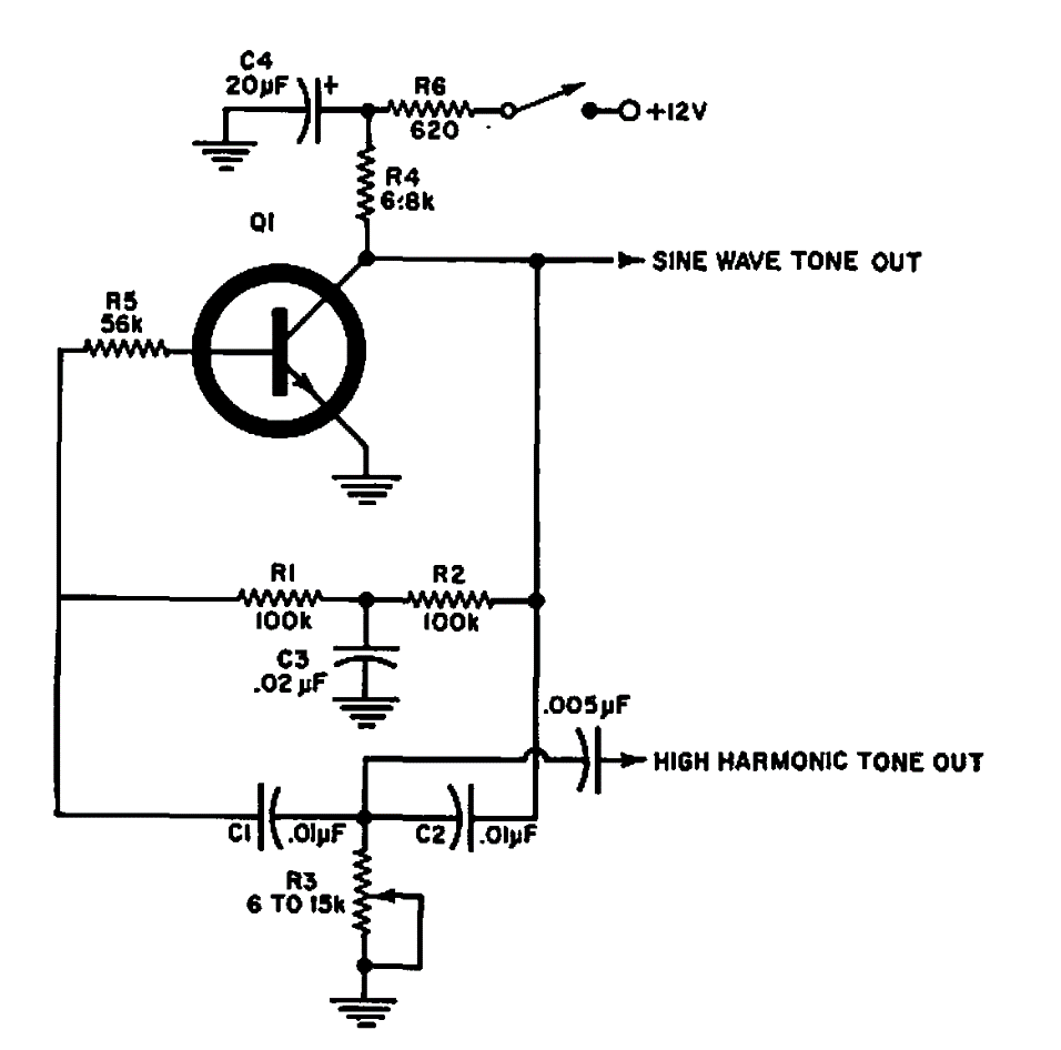
Este circuito foi encontrado numa Electronics World de 1968. O transistor pode ser qualquer um de uso geral e o duplo T deve ser ajustado em R3 para o efeito desejado.

 


| Clique na imagem para ampliar |

 

 

 

NO YOUTUBE


NOSSO PODCAST