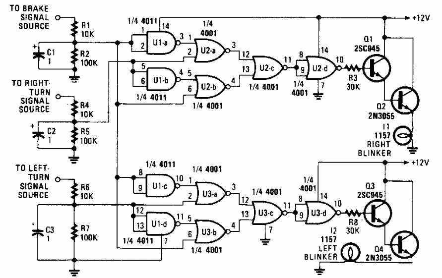
Este circuito foi encontrado numa Popular Electronics dos anos 90 se aplicando a lâmpadas comuns de sinalização automotivas. O circuito pode ser adaptado para LEDs.

 


| Clique na imagem para ampliar |

 

 

 

NO YOUTUBE


NOSSO PODCAST