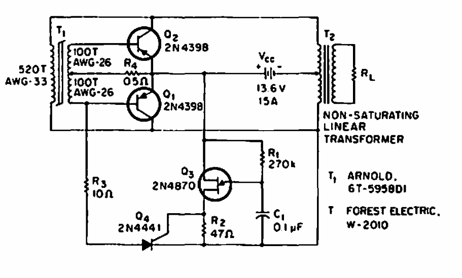
Este circuito foi encontrado em documentação da Philips de 1969. Os componentes são da época inclusive os transformadores que são de tipos comerciais.

 


| Clique na imagem para ampliar |

 

 

 

NO YOUTUBE


NOSSO PODCAST