Inversor de 12 V com 60 W CIR14535S CB7152E (CIR17499)
Detalhes
Escrito por: Newton C. Braga
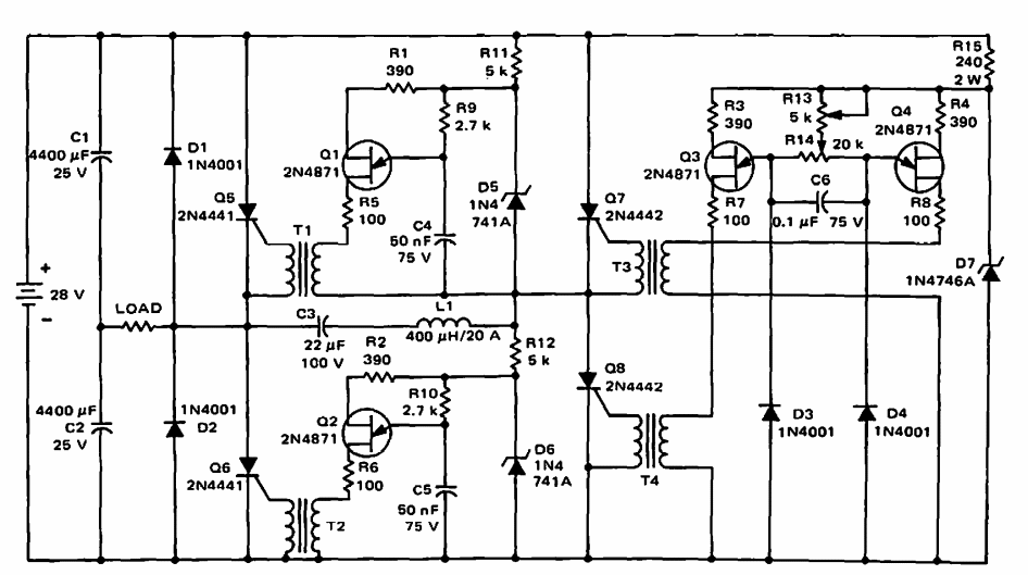
A frequência de operação deste circuito é de 465 Hz e a tensão de entrada é de 12 VAC. O circuito tem eficiência de 65%. Encontramos numa publicação da Motorola de 1968.