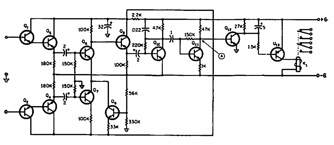
Este circuito foi obtido em documentação sobre aplicações médicas de 1966. O circuito é usado em eletromiografia fazendo o chaveamento dos eletrodos usados com o equipamento.

 


| Clique na imagem para ampliar |

 

 

NO YOUTUBE


NOSSO PODCAST