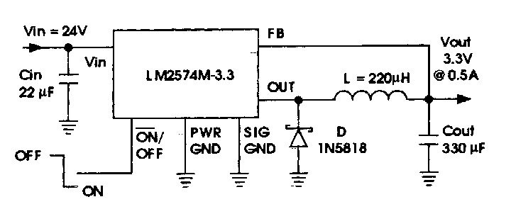
Encontrado em documentação técnica da National Semiconductor, ste circuito fornece uma tensão de 3,3 V com 500 mA na saída. O componente é da época.

 


| Clique na imagem para ampliar |

 

 

 

NO YOUTUBE


NOSSO PODCAST