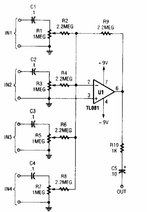
Esta configuração tradicional de mixer com alta impedância de entrada foi encontrada numa Popular Electronics dos anos 90. O operacional com JFET na entrada admite equivalente.

Esta configuração tradicional de mixer com alta impedância de entrada foi encontrada numa Popular Electronics dos anos 90. O operacional com JFET na entrada admite equivalente.
