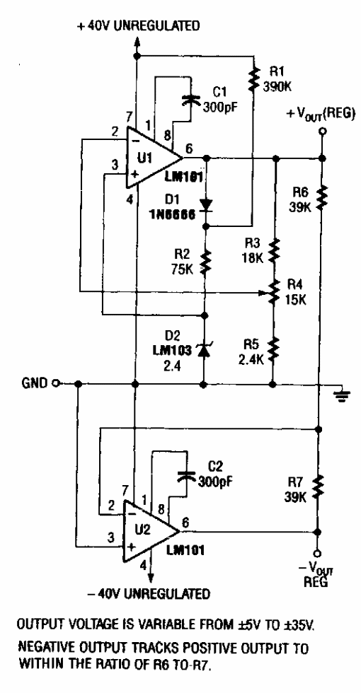
Encontrado numa Popular Electronics dos anos 90, este circuito converte uma fonte de 40 V simétrica para uma fonte de 5 V simétrica com corrente máxima dada pelos operacionais usados.

Encontrado numa Popular Electronics dos anos 90, este circuito converte uma fonte de 40 V simétrica para uma fonte de 5 V simétrica com corrente máxima dada pelos operacionais usados.
