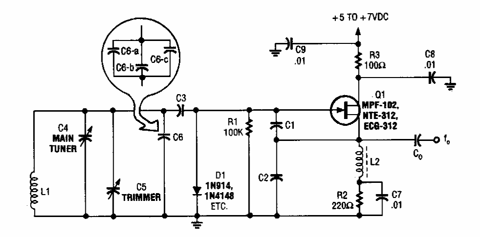
Este circuito para a faixa de 3 a 6 MHz foi encontrado numa Popular Electronics dos anos 90. Os componentes da rede formada por C6 dependem da faixa de frequências a ser coberta.
Este circuito para a faixa de 3 a 6 MHz foi encontrado numa Popular Electronics dos anos 90. Os componentes da rede formada por C6 dependem da faixa de frequências a ser coberta.